基于Mini2440开发板实现的家居状态移动控制系统的设计
摘要:作为智能家居的重要部分,家居状态移动控制系统主要研究使用计算机、网络通讯、家电控制等技术,将各种日常家用电器连接在一起,实现集中的智能控制。此系统可以通过移动终端,与家居状态控制器进行无线连接,通过家居状态控制器,控制家庭中各家居设备的工作状态。此设计是基于Mini2440开发板实现的终端控制,性能稳定,可拓展性强。
关键词:移动终端、无线连接、家居状态控制器、家居设备。
1.引言
2009年1月,IBM公司提出了“智慧地球”的理念;2009年8月,温家宝总理在中科院无锡高新微纳传感网工程技术研发中心考察时,提出了“感知中国”的目标。物联网是以感知为核心的物物互联,从技术角度又称为传感网。物联网将成为继计算机、互联网和通信网络之后的信息产业第三次浪潮。随着科学技术的迅猛发展,世界迎来了信息化时代。现如今,可以把信息技术、自动控制技术和计算机技术结合起来应用于建筑及住宅,于是出现了智能建筑及住宅。智能家居概念的起源很早,但一直未有具体的建筑案例出现,直到1984年美国联合科技公司(United Techno1ogies Building System)将建筑设备信息化、整合化概念应用于美国康乃迪克州(Connecticut)哈特佛市 (Hartford)的City Place Building时,才出现了首栋的“智能型建筑”,从此揭开了全世界争相建造智能家居的序幕随着互联网的发展,尤其是无线网络的出现和发展,智能家居逐步进入网络化时代。它能提供照明控制、远程家电控制、安防报警、室内外遥控、自动窗帘、可编程定时控制等多种功能和手段,使人们的生活更加安全、舒适和便捷。随着手机、掌上电脑等设备的普及,通过GSM/GPRS、无线WLAN、3G、Wife等无线网络不断推进监控家居技术的革新,可以预见,智能家电的普及将极大地提高人们的生活质量。
2.方案论证
2.1方案一:Android手机方案
 利用安卓手机作为控制终端,在Linux编译好软件,安装在手机上,先由手机发送带有控制命令的数据包到服务器,当服务器收到控制指令之后,再由服务器发送控制命令到相应的家电控制器上。此方案方便、便捷。
2.2方案二:嵌入式Linux方案
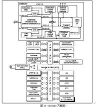
Mini2440 是一款低价实用的ARM9 开发板,它采用Samsung S3C2440为微处理器,做工精良,接口齐全,性能稳定,资料丰富,技术支持强。
综上所述,由于我们已有Mini2440开发板,而且其兼容性强,可拓展性优良,所以我们这次设计所采用的是Linux方案。
3.硬件设计和论证
3.1移动端设计和论证
3.1.1 Android手机方案
Android是Google于2007年11月05日宣布的基于Linux平台的开源移动操作系统的名称,该平台由操作系统、中间件、用户界面和应用软件组成。它采用软件堆层(Software Stack,又名软件叠层)的架构,主要分为三部分。底层以Linux内核工作为基础,由C语言开发,只提供基本功能;中间层包括函数库Library和虚拟机Virtual Machine,由C++开发。最上层是各种应用软件,包括通话程序,短信程序等,应用软件则由各公司自行开发,以Java作为编写程序的一部分。不存在任何以往阻碍移动产业创新的专有权障碍,号称是首个为移动终端打造的真正开放和完整的移动软件。 Google通过与软、硬件开发商、设备制造商、电信运营商等其他有 关各方结成深层次的合作伙伴关系,希望借助建立标准化、开放式的移动电话软件平台,在移动产业内形成一个开放式的生态系统。 Android 作为Google企业战略的重要组成部分,将进一步推进“随时随地为每个人提供信息”这一企业目标的实现。全球为数众多的移动电话用户正在使用各种基于 Android 的电话。
Android系统平台优势
毕业设计说明书目录
1 引言………………………………………………………………………………………2
2 方案论证…………………………………………………………………………………2
2.1方案一:Android手机方案…………………………………………………2
2.2方案二:嵌入式Linux方案…………………………………………………2
3 硬件设计和论证…………………………………………………………………………2
3.1移动端硬件设计和论证………………………………………………………2
3.1.1 Android手机方案…………………………………………………………2
3.1.2嵌入式Linux方案…………………………………………………4
3.2 网络连接设计和论证…………………………………………………………6
3.2.1 红外方案………………………………………………………………6
3.2.2 WIFI方案…………………………………………………………………7
4. 软件设计………………………………………………………………………………8
4.1嵌入式QT简介………………………………………………………………8
4.1.1使用信号与槽机制应注意的问题……………………………………………9
4.2 程序设计………………………………………………………………………10
4.2.1用户接口界面……………………………………………………………10
4.2.2客户端与服务端连接……………………………………………………12
4.2.3客户端对服务端进行控制………………………………………………12
4.2.4 各功能实现………………………………………………………………12
5.软硬件系统的调试……………………………………………………………………13
5.1主控模块………………………………………………………………………13
5.2 QT交叉编译……………………………………………………………………15
6.小结………………………………………………………………………………………19
参考文献
[1]田景熙.物联网概论[M].南京:东南大学出版社,2010.
[2]沈苏彬,范曲立,宗平,等.物联网的体系结构与相关技术研究[J].南京邮电大学学报(自然科学版),2009(6):38-45.
[3]程秀华,缪希仁,谢礼龙.数字家居智能系统控制技术[J].低压电器,2007(4):30-32.
[4]翟雷,刘盛德,胡咸斌.ZigBee技术及应用[M].北京:北京航空航天大学出版社,2011.
[5]闫哲,杜涛,左海利.智能家居控制系统的设计及实现 [J].自动化技术及应用,2010,29(2):93~96,98.
[6]苗硕.远程智能家居管理系统的研究与设计[D].西安:西安建筑科技大学,2006.
[7] 朱华生,冯祥胜.基于ARM智能家居控制器设计与实现 [J].ARM 开发与应用,2007,23(1):186.
[8] 林旭东.智能家居系统相关技术及发展趋势[J].科技创新导报,2008, (7):6.
[9] 李剑雄,张策,杨军.基于ARM 和DM9000 的网卡接口设计与实现[J].微计算机信息,2008,24(5):123-124.
[10] 张鸿恺,伍超.智能家居及其发展研究[J].黑龙江科技信息,2006,(32):266.
[11] 夏涛,陶洋.基于四大模块的只能家居的研究与设计[J].武汉职业技术学院学报,2007,6(3):54.
[12] 范学英,张明新.嵌入式系统概述[J].自动化技术与应用, 2008,27(2):113-115.
[13] 林添成.基于GSM 的远程家居控制系统[J] .装备制造技术,2010.5:75-76.
[14]施自华,伍臣周,余晃晶.基于GSM 的智能家居系统设计与实现[J].2010.8 (27):341-344.
[15] 苏江福.基于GSM 网络的智能家居监控系统设计与实现[D].哈尔滨:哈尔滨工程大学,2008.
[16]卢伯英.PIC 单片机基础与传感器应用[M].北京:科学出版社,2010.
 www.bysj1.com www.bysj1.com/html/4653.html  www.taolw.bysj1.com www.caddown.bysj1.com
 
						
 
				  
					        
							



















 
					        
					 
					 
					