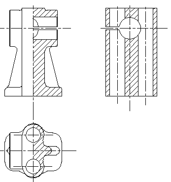
气门摇杆轴支座的机械加工工艺规程及钻Φ20孔的专用机床夹具的设计
摘   要
在这几周时间里,我们进行了机械制造加工工艺设计及夹具设计。机械设计制造基础课程设计是在学完了机械制造基础课(含机床夹具设计)和大部分专业课(材料力学、机械原理等),并在进行了生产实习的基础上进行的一个教学过程。这次设计使我们能综合运用机械制造工艺学中的一些基本理论,并结合生产实习中学到的一些实践知识,独立地分析和解决工艺上的问题。初步具备了设计一个中等复杂程度零件(气门摇杆轴支座)的工艺规程的能力和运用夹具设计的基本原理和方法,制订夹具设计方案,完成夹具结构设计的能力,也是熟悉和运用相关手册,图表等技术资料及编写技术文件技能的一次难得的实践机会,为今后的毕业设计及未来从事的工作奠定良好的基础。
由于所掌握的知识不全面且能力所限,经验不足,设计中还有许多不足之处,希望各位老师多加指导
关键词:气门摇杆 夹具
目   录
摘   要 I
第一章  零件的工艺分析 1
1.1零件的功能、结构及生产类型的确定 1
1.1.1零件的作用 1
1.1.2 零件的工艺分析 2
1.1.3 零件的生产类型 2
第二章  毛坯的选择 3
2.1确定毛坯的类型、制造方法和尺寸及其公差 3
2.2毛坯的技术要求 3
第三章  基准的选择 4
3.1粗基准的选择: 4
3.2精基准的选择 4
第四章  制订工艺路线 5
4.1确定各加工面的加工方法 5
4.2拟定加工工艺路线 5
4.2.1工艺路线方案1 6
4.2.2工艺路线方案2 7
4.3工艺方案的比较与分析 7
第五章  工序设计 9
5.1工序12 的尺寸链计算 9
5.2机械加工余量、工艺尺寸及毛坯尺寸的确定 10
5.3切削余量及基本工时的确定 10
第六章  夹具设计 16
6.1设计方案 16
6.2加紧方案 17
设计心得 19
参考文献 20
附录 21
参考文献
[1] 李昌年. 机床夹具设计与制造[M].机械工业出版社,2007.
[2] 李益民.机械制造工艺设计简明手册[M].机械工业出版社,1999.
[3] 艾兴,肖诗纲.切削用量简明手册第三版[M].机械工业出版社,2007.
[4] 孙丽媛.机械制造工艺及专用夹具[M].冶金工业出版社,2002.
[5] 吴宗泽,罗圣国.机械设计课程设计手册[M].高等教育出版社,2006.
[6] 李洪.机械加工工艺手册[M].北京出版社,1996.
[7] 孟少龙.机械加工工艺手册[M].机械工业出版社,1991.
[8] 崇凯.机械制造技术基础课程设计指南[M].化学工业出版社,2007.
[9] 肖继德,陈宁平.机床夹具设计[M]. 机械工业出版社,2004.
http://www.bysj1.com/html/6486.html
http://www.bysj1.com/html/6469.html
http://www.bysj1.com/html/6483.html
 
						
 
				  
					        
							



















 
					        
					 
					 
					