轴架冲压工艺及模具的设计           摘要:冲压成型是金属成型的一种重要方法,它主要适用于材质较软的金属成型,可以一次成型形状复杂的精密制件。本课题就是将轴架作为设计模型,将冷冲模具的相关知识作为依据,阐述冷冲模具的设计过程。
   首先,对轴架的工艺性能进行分析,提出了三种可行的冲压工艺方案。通过对三种方案的分析比较,最终确定采用第二种方案,选定“冲孔-弯曲-落料,级进模生产”的冲压工艺路线。然后,按选定的工艺路线进行主要参数的工艺计算。确定模具的结构。即模架型式、导向方式、毛坯定位、卸料、推料、压料、出件方式等。随后,确定模具主要零部件的结构与尺寸。并在此基础上绘制装配图和零件工作图。最后,确定压力机类型及主要参数。以达到预期效果。
 
 关键词:冲压模具  轴架  模具设计
  
  
  目  录
引言 1
1 模具行业的发展现状及市场前景 1
2 冲压工艺介绍 1
3 冲压工艺的种类 2
4 冲压行业阻力和障碍与突破 2
1 冲裁件的工艺分析 5
1.1 工件材料 5
1.2 工件结构形状 6
1.3 工件尺寸精度 6
2 冲裁工艺方案的确定 6
 8
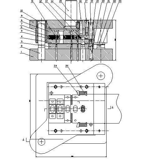
3  模具结构形式的确定 8
4.1 模具类型的选择 9
4.2 操作方式 9
4.3 卸料、出件方式 9
4.4 确定送料方式 10
4.5 确定导向方式 10
5 模具设计计算 11
5.1 排样、计算条料宽度、确定步距、材料利用率 11
5.2 冲压力的计算 15
5.3 压力中心的确定 17
5.4 模具刃口尺寸的计算 18
6 主要零部件设计 21
6.1 工作零部件的结构设计 21
7 校核模具闭合高度及压力机有关参数 28
7.1 校核模具闭合高度 28
7.2 冲压设备的选定 28
8 设计并绘制模具总装图及选取标准件 29
9 模具的安装调试 30
9.1 模具的安装调试 30
结论 32
                  参考文献
[1] 张如华 等主编. 冲压工艺与模具设计. 北京:清华大学出版社,2006
[2] 锻压学会 编. 锻压手册第2卷 冲压(第3版). 北京:机械工业出版社,2008
[3] 王孝培 主编. 冲压手册(第2版). 北京:机械工业出版社,1995
[4] 编写组 编. 冲模设计手册. 北京:机械工业出版社,1991
[5] (日)编委会 编. 冲压加工技术手册. 谷维忠等 译. 北京:轻工业出版社,1988
[6] 郑可锽 主编. 实用冲压模具设计手册. 北京:宇航出版社,1990
[7] 李天佑编. 冲压模具图册. 机械工业出版社,198?
[8] 冲模设计应用实例. 北京:机械工业出版社,1999
[9] Fuh-Kuo Chen, Yeu-Ching Liao. Finte element anaysis of draw-wall wrinking in a stamping die design [A]. VIII International Conference on Computational Plasticity,Barcelona, 2005

 
						
 
				  
					        
							



















 
					        
					 
					 
					