封闭板成形模及冲压工艺的设计
摘要
随着全球经济一体化的深入,模具工业在国民经济中所发挥的作用越来越明显。模具设计水平的高低直接影响产品的质量及生产效率。
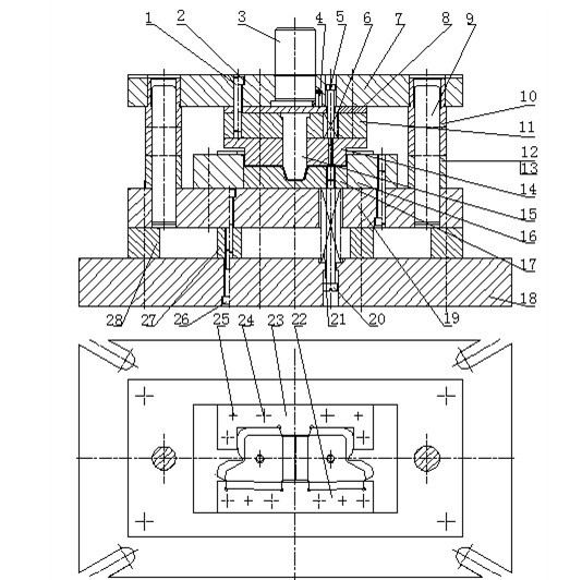
设计本模具是为了制造某车型中一个支柱端头的封闭板。设计中分析了封闭板零件的结构及工艺性,拟订该零件的冲压工艺为“落料——双向弯曲(翻边成形)”,讨论了复杂弯曲(翻边)零件毛坯展开形状和尺寸的确定方法,设计了落料模和双向弯曲(翻边)成形模,对关键零件的结构设计作了详细阐述,并指出了模具设计时的注意事项。其中,双向弯曲成形模是本设计的重点,将双向弯曲(翻边)成形集中于一套模具中,使得冲件的质量和生产效率较高,满足了生产需要。
由于模具设计是一种经验性较强的设计,经过长期发展积累了大量丰富的冲压工艺技术资料,在设计这两套模具时必然要借鉴这些经验数据,含括了落料模、弯曲模、拉深模中常用的工艺数据以及模具材料的选取和压力机基本参数等等.
关键词:冲压工艺 毛坯展开 双向弯曲成形模 CAD
目录
摘要---------------------------------------------------------------------------------------------Ⅰ
Abstract-----------------------------------------------------------------------------------------Ⅱ
第一章封闭板成型模及冲压工艺设计
1.1零件结构及工艺分析----------------------------------------------------------------1
1.1.1零件结构-----------------------------------------------------------------------1
1.1.2工艺分析-----------------------------------------------------------------------.1
1.2 本章小结-------------------------------------------------------------------------------3
第二章封闭板落料模设计
2.1封闭板落料毛坯形状和尺寸的确定----------------------------------------------4
2.2弯曲成形部分的毛坯形状和尺寸的计算----------------------------------------4
2.2.1三处翻边成形的毛坯尺寸的确定和计算--------------------------------5
2.3封闭板排样和裁板--------------------------------------------------------------------7
2.3.1确定排样的方式并计算材料利用率-------------------------------------7
2.3.2裁板------------------------------------------------------------------------------8
2.4封闭板落料模结构设计-------------------------------------------------------------9
2.4.1总体结构-----------------------------------------------------------------------9
2.4.2导向装置----------------------------------------------------------------------9
2.4.3定位装置----------------------------------------------------------------------10
2.4.4卸料装置----------------------------------------------------------------------10
2.5封闭板落料模工艺计算------------------------------------------------------------10
2.5.1计算冲压力------------------------------------------------------------------.10
2.5.2确定压力中心----------------------------------------------------------------11
2.5.3凸、凹模刃口尺寸及制造公差--------------------------------------------.12
2.6成形模工作零件的设计------------------------------------------------------------12
2.6.1凹模设计----------------------------------------------------------------------12
2.6.2凸模设计----------------------------------------------------------------------13
2.7成形模卸料元件的设计-----------------------------------------------------------14
2.7.1成形模卸料橡胶的选用和设计-------------------------------------------14
2.7.2成形模卸料螺钉的设计---------------------------------------------------.16
2.8设计其它零件并校核压力机-----------------------------------------------------16
2.8.1其它零件的设计及选用----------------------------------------------------16
2.8.2校核压力机-------------------------------------------------------------------16
2.9 本章小结-----------------------------------------------------------------------------17
第三章双向弯曲(翻边)成形模设计
3.1成形模结构设计---------------------------------------------------------------------18
3.1.1总体结构----------------------------------------------------------------------19
3.1.2工作原理----------------------------------------------------------------------19
3.2成形模工艺计算---------------------------------------------------------------------20
3.2.1弯曲力的计算----------------------------------------------------------------20
3.2.2回弹量的确定----------------------------------------------------------------21
3.2.3计算压力中心----------------------------------------------------------------21
3.2.4工作尺寸计算----------------------------------------------------------------22
3.3成形模关键零件的设计------------------------------------------------------------23
3.3.1凹模设计----------------------------------------------------------------------21
3.3.2翻边凸模设计-------------------------------------------------------------22
3.3.3弹簧的设计--------------------------------------------------------22
3.4设计其它零部件并校核压力机---------------------------------------------------25
3.4.1模座的选用-------------------------------------------------------------------25
3.4.2定位装置的设计-------------------------------------------------------------25
3.4.3顶料板的设计------------------------------------------------------------25
3.4.4弯曲凸模的设计-------------------------------------------------------------26
3.4.5计算闭合高度并校核压力机----------------------------------------------26
3.5 本章小结-----------------------------------------------------------------------------27
毕业设计总结---------------------------------------------------------------------------------29
致谢-------------------------------------------------------------------------------------32
参考文献---------------------------------------------------------------------------------33
附录:
冷冲压工艺规程卡片、零件图、装备图
参考文献
1 叶伟昌编.刀量模具设计简明手册.北京:机械工业出版社,1999年5月
2 钟毓斌主编.冲压工艺与模具设计.北京:机械工业出版社,2000年5月
3 模具实用技术丛书编委会编.冲模设计应用实例.北京:机械工业出版社,1999年6月
4许发樾主编.实用模具设计与制造手册.北京:机械工业出版社,2000年10月
5 许发樾主编.模具标准应用手册.北京:机械工业出版社,1994年10月
6 王新华编.冲模设计与制造实用计算手册.北京:机械工业出版社,2003年3月
7李奇涵等.基于AutoCAD2000的冲模压力中心确定方法.模具工业.2003年,第2期
8 “冲模设计手册”编写组编著.冲模设计手册.北京:机械工业出版社1988年




















